1.用车申请查询

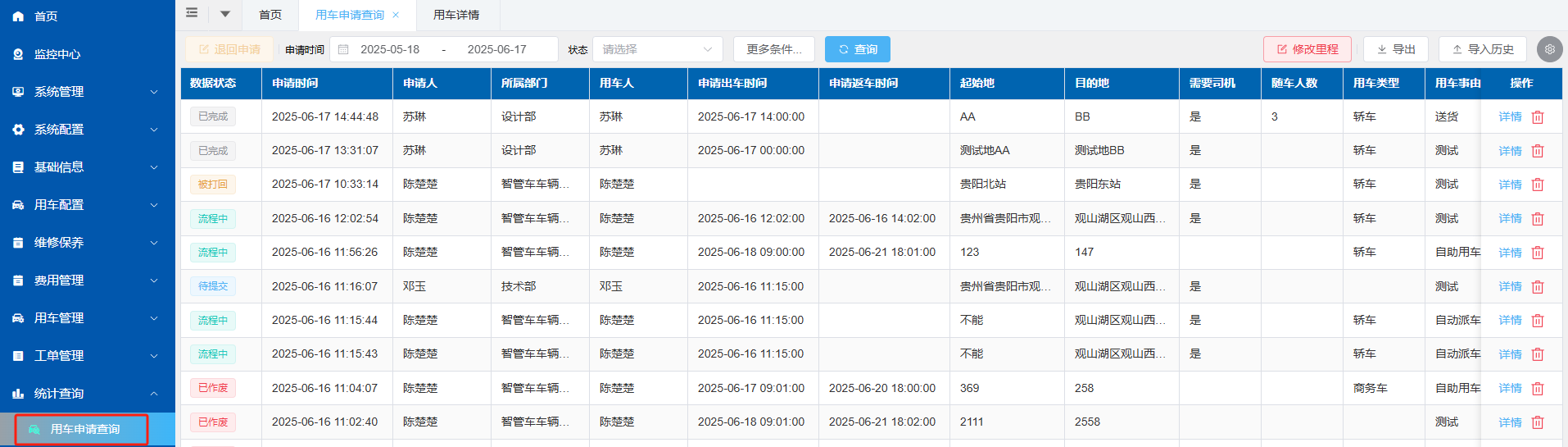
1、【用车申请查询】可查询用车申请、排班调度的用车明细,如开启自动分配车辆与司机,系统自动分派车辆与司机后,也可以详情中进行查看,包括用车基本详情和流程审批情况。

左侧菜单点击【用车申请查询】进入页面,选择申请时间或数据状态筛选查询,点击操作中的“详情”按钮,可查看用车记录详情和流程审批情况,

 

2、如需删除用车申请记录,可登录单位管理员帐号,选中需要删除的记录,在操作栏点击删除按钮删除。

 

3、如出现里程填写错误的情况,管理员也可以选中记录,点击上方的“修改里程”更改里程数。